二、吸金之星
科技创新始于技术、成于资本,这是近几十年全球科技创新一个突出的特征。随着新技术革命的不断推进,人才技术和资本的结合更加紧密,中小型企业科技创新创业的优势日益凸显,资本市场日益成为点燃创新的速度引线。国家级专精特新企业中有87家A股主板上市企业,134家A股创业板上市企业,91家A股科创板上市企业,361家新三板企业,459家企业获早期轮次融资。
近五年(2016年1月1日至2021年8月31日),国家级专精特新企业共发生融资事件2,768笔,融资金额40,465,718万元,平均单笔融资额17,067万元/笔。其中,已上市A股及新三板的国家级专精特新企业共发生融资事件1,024笔,融资金额21,546,081万元,平均单笔融资额26,699万元/笔。未上市的国家级专精特新企业共发生融资事件1,744笔,融资金额18,919,637万元,平均单笔融资额12,097万元/笔。
从省份分布上来看,近五年国家级专精特新企业在上海市、北京市和江苏省资本市场活跃度高,分别融资6,454,358万元,5,920,967万元和5,182,187万元。
从产业分布上来看,国家级专精特新企业在装备工业,化工新材料和新能源吸金能力最强,分别融资22,553,100万元,12,278,400万元和11,954,200万元。
创新是一个企业生存和发展的灵魂。按照我国的专利法,专利分为发明专利、实用新型专利和外观设计专利,其中发明专利的含金量最高。发明专利是衡量一个地区创新水平的重要指标,更是一个企业创新能力的基本标志。国家级专精特新企业在高价值专利——发明专利上有良好的表现,同时积极参与国家标准制修订,兼具创新的硬实力与软实力。
截至2021年8月,国家级专精特新企业共有376,095件存量申请专利,其中发明专利161,393件,实用新型专利182,996件,外观设计专利31,706件。2021年1-8月,国家级专精特新企业新增12,483件申请专利,其中发明专利10,174件,实用新型专利875件,外观设计专利1,434件。
截至2021年8月,国家级专精特新企业共有263,970件存量授权专利,其中授权发明专利49,268件,授权实用新型专利182,996件,授权外观设计专利31,706件。2021年1-8月,国家级专精特新企业新增36,063件授权专利,其中授权发明专利8,440件,授权实用新型专利23,446件,授权外观设计专利4,177件。其中发明专利授权占全国总量的2.1%,占全国企业总量的3.4%,这也充分反映了国家级专精特新的科技成色。
从产业分布上来看,国家级专精特新企业授权发明专利主要分布在能源产业、装备工业和仪器仪表产业。其中合肥杰事杰新材料股份有限公司、日立楼宇技术(广州)有限公司和北京中电华大电子设计有限责任公司拥有授权发明专利数量排在前三,分别有409个、229个和213个。其中华大电子提供物联网、车联网、智能交通、智能家居、智能制造、5G网络通讯、金融科技等领域的安全芯片产品及应用方案开发,是中国安全芯片产业的核心企业。
从省份分布上来看,国家级专精特新企业授权发明专利重点分布在广东省、浙江省和江苏省。国家级专精特新企业参与制定有标准9,511个,其中国家级标准4,442个,行业标准1,175个,团体标准3,218个,地方标准175个,企业标准501个。国标(北京)检验认证、贵研铂业和中蓝晨光化工研究设计院参与制定国家级标准数量最多,分别有94个、88个和58个。
从获得资本市场(含IPO及私募股权投资)加持来看,国家级专精特新企业主要集中在新一代信息技术、医药及医疗器械、新能源汽车及关键零部件、新材料、电子设备及智能终端五大赛道。本研究综合企业市值、融资金额、专利数量、起草标准四大维度来评价公司未来资本市场潜力,其中企业市值、资本市场融资金额反映的是资本市场对企业价值的认可度,发明专利数量及参与起草国家标准数量基本反映了一个公司的核心竞争力。从评价结果看,陕西瑞科新材料、荣成康派、西安凯立新材料及无锡日联科技在四大维度均排名在企业所在行业细分环节前三名。
新物种是随着数字经济的发展而不断创新涌现的新产品、新业态、新模式,也是资本市场的新宠儿。在国家级专精特新企业中,已有312家成功在A股上市,未来将有更多的专精特新进入公开资本市场。万亿赛道,千亿市值,花落谁家呢?我们拭目以待。从已在A股上市专精特新企业获投情况来看,中信证券和深创投分别投资了13家成功在A股上市的专精特新企业,国泰君安和毅达资本分别投资了12家,华泰证券投资了11家,成为了投资专精特新企业成功在A股上市数量最多的前五家投资方。从这5家投资方投资的专精特新企业的关系挖掘中可看出,航天检测、一鸣生物、长扬科技、嘉好热熔胶和科瑞恩自动化未在A股主板上市,并且同时被这五家投资方中的2家投资。
国家级专精特新企业普遍拥有较强的创新能力,在资本市场被广泛认可。获得天使/种子轮的专精特新企业平均年龄在5.54年,获得C轮的专精特新企业平均年龄在7.65年,成功上市的专精特新企业平均年龄在10年以上。高仙自动化、蓝箭航天、航顺芯片、曼顿科技及迈迪顶峰近期获得大于10亿以上C/D轮融资。长扬科技仅用3年时间得到E轮融资,成为最快融到E轮的企业。
非上市国家级专精特新企业中共有2家企业获得“中国独角兽企业”标签,262家获得“国家高新区瞪羚企业”标签。
非上市国家级专精特新企业中,有授权发明专利的企业共3,433家,排名专精特新企业前5‰的专利数量为138个,参与制定国家标准的企业共849家,排名前5‰的标准数量为36个。日立楼宇技术(广州)有限公司、北京中电华大电子设计有限责任公司和先健科技(深圳)有限公司拥有授权发明专利数量最多,分别有229、213和204件授权发明专利。国标(北京)检验认证有限公司、中蓝晨光化工研究设计院有限公司和浙江金龙电机股份有限公司起草国家标准数量最多,分别起草了94、58和38个国家标准。
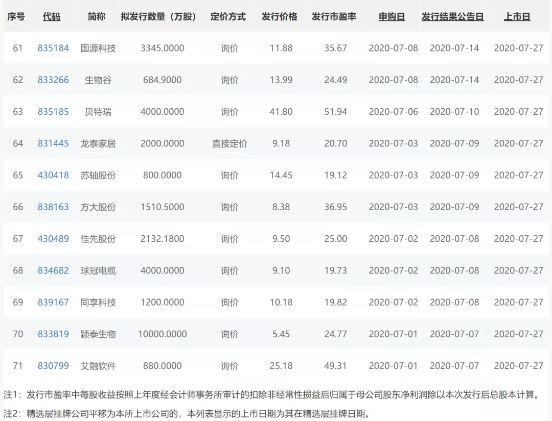
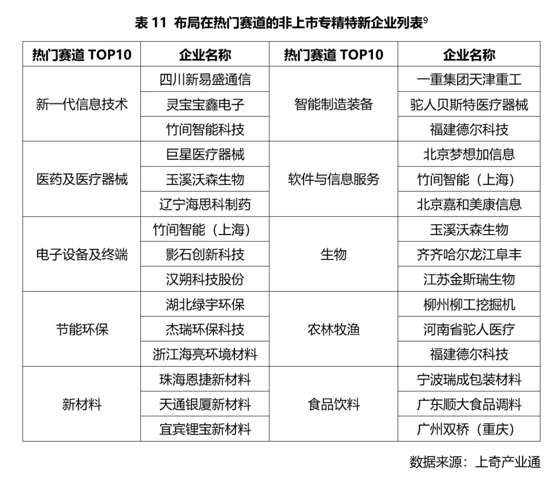
近三年新上市的A股及新三板企业主要布局在新一代信息技术、医药及医疗器械、电子设备及终端、节能环保和新材料等赛道,布局在热门赛道上的专精特新企业具有较大的上市潜力。
来源:编辑部艾蕊

声明:转载目的在于传递更多信息,并不代表赞同其观点和对其真实性负责。文字、图片版权均属权利人,如涉及作品内容、版权和其它问题,请及时与我们联系。本网站对此声明具有最终解释权。
评论
试试以这些内容开始评论吧!